Выбрать город Сургут Выбрать город
Почта
Напишите нам!
Телефон
Бесплатно по России
Телеграм
WhatsApp

Тройники в ППУ изоляции в Сургуте

Тройники ППУ для труб в Сургуте напрямую от завода-изготовителя. Альфа-тех Инвест производит тройниковые соединения. В ассортименте равнопроходные и переходные модели, стандартные и параллельные тройники с ППУ в изоляции ПЭ или ОЦ. Возможно изготовление с системой ОДК и в различных защитных оболочках. Работаем с заказами любой сложности. Гарантируем качество и соответствие нормативам. Выгодные цены на тройники ППУ в изоляции от производителя. Доставка по России и СНГ. Заказ по телефону: 8 (800) 700-43-11.

Тройник ППУ в Сургуте для соединения отрезков трубопровода, собственное производство, выгодные цены. Завод Альфа-тех Инвест предлагает оптом и в розницу качественные соединительные элементы для трубопроводов. Тройники ППУ имеют изоляцию из полиуретана и безопасны в использовании. На все изделия предоставляются сертификаты и гарантия качества. Мы работаем с надежными транспортными компаниями и отгружаем товар по всей России и страны ближнего зарубежья.

Тройники в ППУ изоляции
Тройники в ППУ изоляции

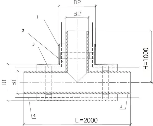
Описание:

Пример условного обозначения тройника диаметром 57−57 мм с изоляцией типа 1

Условные обозначения:

  1. оболочка;
  2. изоляция из пенополиуретана;
  3. центрирующая опора;
  4. проводник-индикатор системы ОДК;
  5. стальная труба.
Получить каталог
трубы ППУ, фасонные изделия, комплектующие, многогранные опоры и металлоконструкции

Характеристики и виды тройников ППУ

Тройник в ППУ изоляции 1020 мм (пенополиуретановой) представляет собой стальную основу, защищенную оболочкой из полиэтилена или оцинкованной стали. Вся продукция выпускается в соответствии со стандартами ГОСТ. В нашем ассортименте представлены следующие типы тройников ППУ ПЭ:

  • тройник ППУ ОЦ;
  • тройник ППУ ПЭ.

Существует два основных вида тройников: переходные и равнопроходные. Модификация зависит от диаметра соединяемых труб. Наши менеджеры помогут подобрать продукцию в соответствии с вашими запросами.

Применение тройников ППУ

Эти фасонные элементы используются при строительстве трубопроводов различного назначения, а также тепловых сетей. Тройники ППУ предназначены для разделения потоков жидких или газообразных сред: их используют для транспортировки и перекачки нефти, газа, воды, других субстанций. Тройники подходят для использования в подземных и наземных коммуникациях, прокладки коммуникаций в различных каналах и тоннелях.

Таблица: Тройник 

d2 d1 32 38 45 57 76 89 108 133 159 219 273 325 426 530 630 720 820 920 1020 1220 1420
L 1200 1200 1200 1200 1300 1300 1300 1300 1400 1400 1800 1800 1900 2000 2000 2000 2000 2100 2100 2400 2700
32 H 700 700 700 700 700 700 700 700 700 700 900 900 900 1000 1000 1100 1200 1200 1300 1400 1500
38 H 700 700 700 700 700 700 700 700 700 900 900 900 1000 1000 1100 1200 1200 1300 1400 1500
45 H 700 700 700 700 700 700 700 700 900 900 900 1000 1000 1100 1200 1200 1300 1400 1500
57 H 700 700 700 700 700 700 700 900 900 900 1000 1000 1100 1200 1200 1300 1400 1500
76 H 700 700 700 700 700 700 900 900 900 1000 1000 1100 1200 1200 1300 1400 1500
89 H 700 700 700 700 700 900 900 900 1000 1000 1100 1200 1200 1300 1400 1500
108 H 700 700 700 700 900 900 900 1000 1000 1100 1200 1200 1300 1400 1500
133 H 700 700 700 900 900 900 1000 1000 1100 1200 1200 1300 1400 1500
159 H 700 700 900 900 900 1000 1000 1100 1200 1200 1300 1400 1500
219 H 700 900 900 900 1000 1000 1100 1200 1200 1300 1400 1500
273 H 900 900 900 1000 1000 1100 1200 1200 1300 1400 1500
325 H 900 900 1000 1000 1100 1200 1200 1300 1400 1500
426 H 900 1000 1000 1100 1200 1200 1300 1400 1500
530 H 1000 1000 1100 1200 1200 1300 1400 1500
630 H 1000 1100 1200 1200 1300 1400 1500
720 H 1100 1200 1200 1300 1400 1500
820 H 1200 1200 1300 1400 1500
920 H 1200 1300 1400 1500
1020 H 1300 1400 1500
1220 H 1400 1500
1420 H 1500
Примечание — Взможно уменьшение длины L трубопроводас каждой стороны на значение Delta Lпри монтаже строительной площадке.

Преимущества тройников ППУ

При использовании этих фасонных деталей можно отметить следующие плюсы:

  • оперативный монтаж,
  • высокая герметичность;
  • снижение теплопотерь;
  • антикоррозийная устойчивость;
  • защита от механических воздействий.

Специалисты завода Альфа-тех Инвест ответят на все вопросы относительно технических параметров тройников 1020 мм и труб ППУ и помогут подобрать необходимые элементы для вашего производства.

Реализованные проекты

Труба в ППУ-изоляции
Труба в ППУ-изоляции

Произведена прокладка и успешно запущены в работу трубопроводы в ППУ-изоляции на АЗС Магистраль М-7 Волга 846 км.

Трубы ППУ в изоляции
Трубы ППУ в изоляции

Произведена прокладка и успешно запущены в работу трубопроводы в ППУ-изоляции в Казань, ул.Горького, д.10

Трубопровод в ППУ-изоляции
Трубопровод в ППУ-изоляции

Произведена прокладка и успешно запущены в работу трубопроводы в ППУ-изоляции в Казань, ул.Галактионова, д.3А

Трубы в ППУ-изоляции
Трубы в ППУ-изоляции

 Произведена прокладка и успешно запущены в работу трубопроводы в ППУ-изоляции в Казань, ул.Зеленая, д.1

Труба ППУ
Труба ППУ

Произведена прокладка и успешно запущены в работу трубопроводы в ППУ-изоляции в Казань, ул.Лесгафта, д. 24-2

Трубопровод ППУ
Трубопровод ППУ

Произведена прокладка и успешно запущены в работу трубопроводы в ППУ-изоляции в Казань, ул.Вишневского, д.51-3

Прокладка трубопровода
Прокладка трубопровода

Произведена прокладка и успешно запущены в работу трубопроводы в ППУ-изоляции в Казань, ул.Тополевая, д.8

Прокладка трубопровода ППУ
Прокладка трубопровода ППУ

Произведена прокладка и успешно запущены в работу трубопроводы в ППУ-изоляции  в г. Казань, ул.Миля д.63А

Прокладка трубопровода ППУ- изоляции
Прокладка трубопровода ППУ- изоляции

Произведена прокладка и успешно запущены в работу трубопроводы в ППУ-изоляции в г.Уфа, пр.Дружбы народов, стройка около д.53

Прокладка трубопровода
Прокладка трубопровода

 Произведена прокладка и успешно запущены в работу трубопроводы в ППУ-изоляции в г.Набережные Челны пр.Набережночелнинский, д.19

Трубопровод ППУ-изоляции
Трубопровод ППУ-изоляции

Произведена прокладка и успешно запущены в работу трубопроводы в ППУ-изоляции в г.Набережные Челны, ЖК Красные Челны пос. 3ЯБ Комсомольский р-н

Удобство работы с Альфа-тех Инвест

Выпускаемая продукция полностью соответствуют всем современным стандартам качества и позволяет создавать трубопроводы различных конфигураций и назначения. Вы можете приобрести тройники и отводы в ППУ изоляции по выгодной цене с доставкой. Кроме того, мы производим многогранные опоры освещения, кронштейны для светильников, опор ЛЭП.

Как сделать заказ

Для того, чтобы узнать условия работы и приобрести товар, обратитесь к нам любым удобным способом:

Менеджеры предоставят нужную информацию, а товар будет отгружен сразу же после оплаты. Собственное производство позволяет поддерживать в наличии постоянный складской запас. Всегда рады сотрудничать с постоянными и новыми клиентами!

Купить тройники в ППУ изоляции в Сургуте

Наш завод предлагает купить тройники в ППУ изоляции на оптимальных условиях. На сайте вы можете ознакомиться с широким ассортиментом, подобрать все необходимое для реализации вашего проекта. Если вам требуется дополнительная информация: 

Напишите нам!
Бесплатно по России
Вопросы и ответы
На каких условиях оплаты вы работаете?
Открыть/Закрыть
Стандартные условия — предоплата 100%. Для постоянных клиентов и крупных серийных заказов условия обсуждаются индивидуально.
Какие сроки изготовления вашей продукции?
Открыть/Закрыть
Сроки изготовления определяются индивидуально для каждого заказа. В среднем это от 5 до 14 рабочих дней.
Можете ли вы организовать доставку продукции до клиента?
Открыть/Закрыть
Мы сотрудничаем с множеством логистических компаний. Наши менеджеры рассчитают стоимость продукции с доставкой в любой регион России. В коммерческое предложение входит расчет веса, объема и необходимого количества транспорта. Вы также можете самостоятельно организовать доставку.
Можно ли приехать на ваш завод на ознакомительную экскурсию?
Открыть/Закрыть
Да, мы приглашаем потенциальных клиентов на экскурсию. Вы сможете ознакомиться с нашим производством и увидеть процесс изготовления интересующей вас продукции. Наш завод находится по адресу: Казань, ул. Михаила Миля, 53а.
Есть ли гарантия на вашу продукцию, и сколько она составляет?
Открыть/Закрыть
Мы предоставляем гарантию на производимую продукцию сроком до 30 лет.
Какие документы качества вы выдаете на производимую продукцию?
Открыть/Закрыть
На каждую партию отгружаемой продукции мы выдаем сертификат качества и паспорт.
WhatsApp Телеграм Телефон
Архангельская Область
Архангельск
Астраханская Область
Астрахань
Башкортостан Республика
Уфа
Владимирская Область
Владимир
Волгоградская Область
Волгоград
Воронежская Область
Воронеж
Кировская область
Киров
Кировская Область
Киров
Коми Республика
Сыктывкар
Костромская Область
Кострома
Красноярский Край
Красноярск
Ленинградская Область
Санкт-Петербург
Мордовия Республика
Саранск
Нижегородская Область
Нижний Новгород
Новосибирская Область
Новосибирск
Омская Область
Омск
Пензенская Область
Пенза
Пермский Край
Пермь
Ростовская Область
Ростов-на-Дону
Рязанская Область
Рязань
Самарская Область
СамараТольятти
Саратовская Область
БалаковоСаратов
Свердловская Область
Екатеринбург
Тамбовская Область
Тамбов
Тверская Область
Тверь
Тюменская Область
Тюмень
Удмуртская Республика
Ижевск
Ульяновская Область
Ульяновск
Ханты-Мансийский Автономный округ - Югра Автономный округ
Сургут
Челябинская Область
Челябинск
Чувашская Республика - Чувашия
Чебоксары
Ярославская Область
Рыбинск
Наверх