Выбрать город Сургут Выбрать город
Почта
Напишите нам!
Телефон
Бесплатно по России
Телеграм
WhatsApp

Переходы в ППУ изоляции в Сургуте

Переходы в ППУ изоляции в Сургуте на заказ от завода по оптовой цене. Наш завод производит переходы для соединения труб разного диаметра. В ассортименте все стандартные типоразмеры, возможно изготовление по индивидуальным размерам. Различные виды защитных оболочек, включая оцинкованное и полиэтиленовое.

Качественные материалы, строгий контроль производства. Вся продукция соответствует ГОСТ, сертификаты в наличии. Доставка по России и СНГ. Купить переходы ППУ ПЭ в изоляции по ценам от производителя вы можете по номеру: 8 (800) 700-43-11.

Наш завод Альфа-тех Инвест успешно производит и реализует широкий ассортимент продукции в России и странах СНГ, странах ближнего и дальнего зарубежья. ООО Альфа-тех Инвест занимается производством и поставкой стальных труб ППУ и фасонных элементов в ППУ изоляции и других составляющих.

С 2006 года стартовало собственное высокотехнологичное производство. Соблюдение технического задания заказчика, ГОСТов и норм и осуществление постоянного и организованного контроля качества на всех этапах реализации являются гарантом нашей высококачественной продукции.

Переходы в ППУ изоляции
Переходы в ППУ изоляции

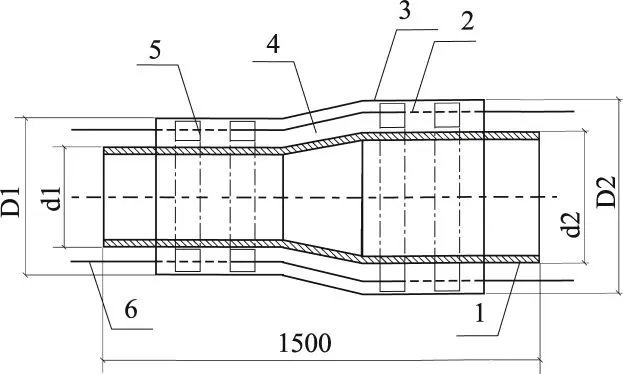
Описание:

Пример условного обозначения стального перехода диаметром 89−76 мм с изоляцией типа 2

Условные обозначения:

  1. стальная труба;
  2. электроизоляционная трубка (для труб со стальной оболочкой);
  3. оболочка;
  4. изоляция из ППУ;
  5. центрирующая опора;
  6. проводник-индикатор системы ОДК (показан условно).
Получить каталог
трубы ППУ, фасонные изделия, комплектующие, многогранные опоры и металлоконструкции

Виды переходов ППУ

Переход – это фасонный элемент, предназначенный для соединения разных концов трубопровода, имеющих разные диаметры. Их применение позволяет сузить или произвести расширение потока внутреннего переносимого вещества.

Различают следующие виды переходов:

  • Переход ППУ ПЭ – внешняя защищающая оболочка состоит из полиэтиленового слоя. Обладает максимальным сбережением тепла. Чаще всего используется при прокладке трасс подземного типа.
  • Переход ППУ ОЦ – внешняя защищающая оболочка представляет собой оцинкованную сталь. Так как сталь такого типа менее подвержена воздействию коррозии и гниения и более устойчива к механическим повреждениям, то практически всегда применяется при прокладке магистрали над поверхностью.

Таблица: ПЕРЕХОД

d2 d1
32 38 45 57 76 89 108 133 159 219 273 325 426 530 630 720 820 920 1020 1220
45 Х
57 Х Х
76 Х Х Х
89 Х Х Х
108 Х Х Х
133 Х Х Х Х
159 Х Х Х Х Х
219 Х Х Х Х Х Х
273 Х Х Х Х
325 Х Х Х Х Х
426 Х Х Х Х
530 Х Х Х
630 Х Х Х
720 Х Х Х
820 Х Х Х Х
920 Х Х Х Х
1020 Х Х Х Х Х
1220 2390 2165 1945 1720 Х
1420 2550 2400 2180 1900 Х
Примечание — Знак "Х" — длина изделия равна 1500 мм.

Реализованные проекты

Труба в ППУ-изоляции
Труба в ППУ-изоляции

Произведена прокладка и успешно запущены в работу трубопроводы в ППУ-изоляции на АЗС Магистраль М-7 Волга 846 км.

Трубы ППУ в изоляции
Трубы ППУ в изоляции

Произведена прокладка и успешно запущены в работу трубопроводы в ППУ-изоляции в Казань, ул.Горького, д.10

Трубопровод в ППУ-изоляции
Трубопровод в ППУ-изоляции

Произведена прокладка и успешно запущены в работу трубопроводы в ППУ-изоляции в Казань, ул.Галактионова, д.3А

Трубы в ППУ-изоляции
Трубы в ППУ-изоляции

 Произведена прокладка и успешно запущены в работу трубопроводы в ППУ-изоляции в Казань, ул.Зеленая, д.1

Труба ППУ
Труба ППУ

Произведена прокладка и успешно запущены в работу трубопроводы в ППУ-изоляции в Казань, ул.Лесгафта, д. 24-2

Трубопровод ППУ
Трубопровод ППУ

Произведена прокладка и успешно запущены в работу трубопроводы в ППУ-изоляции в Казань, ул.Вишневского, д.51-3

Прокладка трубопровода
Прокладка трубопровода

Произведена прокладка и успешно запущены в работу трубопроводы в ППУ-изоляции в Казань, ул.Тополевая, д.8

Прокладка трубопровода ППУ
Прокладка трубопровода ППУ

Произведена прокладка и успешно запущены в работу трубопроводы в ППУ-изоляции  в г. Казань, ул.Миля д.63А

Прокладка трубопровода ППУ- изоляции
Прокладка трубопровода ППУ- изоляции

Произведена прокладка и успешно запущены в работу трубопроводы в ППУ-изоляции в г.Уфа, пр.Дружбы народов, стройка около д.53

Прокладка трубопровода
Прокладка трубопровода

 Произведена прокладка и успешно запущены в работу трубопроводы в ППУ-изоляции в г.Набережные Челны пр.Набережночелнинский, д.19

Трубопровод ППУ-изоляции
Трубопровод ППУ-изоляции

Произведена прокладка и успешно запущены в работу трубопроводы в ППУ-изоляции в г.Набережные Челны, ЖК Красные Челны пос. 3ЯБ Комсомольский р-н

Производство переходов в ППУ изоляции от завода Альфа-тех Инвест

ООО Альфа-тех Инвест организовала высококачественное производство не только труб, но и других фасонных комплектующих:

  • п-образные элемент – фасонное изделие естественной компенсации. Форма напоминает букву «П». Также позволяет обойти препятствия, в случае невозможности их устранения.
  • z-образные элемент – также является фасонным изделием естественной компенсации. Может быть установлен, как горизонтально, так и вертикально. Особенно необходим при переходе магистрали из надземного состояния под землю и наоборот.
  • неподвижные опоры – обязательный элемент магистрали, предназначенный для увеличения прочности всей системы и исключения «провисаний» участков трубопровода под нагрузкой.

На нашем сайте вы легко можете заказать стальные трубы в ППУ изоляции, узнать цену на ППУ переходы и другие фасонные изделия через форму обратной связи. Также вы можете связаться с нами по телефону: 8 (800) 700-43-11. и получить ответы на интересующие вопросы.

Купить переходы в ППУ изоляции в Сургуте

Наш завод предлагает купить переходы в ППУ изоляции на оптимальных условиях. На сайте вы можете ознакомиться с широким ассортиментом, подобрать все необходимое для реализации вашего проекта. Если вам требуется дополнительная информация: 

Напишите нам!
Бесплатно по России
Вопросы и ответы
На каких условиях оплаты вы работаете?
Открыть/Закрыть
Стандартные условия — предоплата 100%. Для постоянных клиентов и крупных серийных заказов условия обсуждаются индивидуально.
Какие сроки изготовления вашей продукции?
Открыть/Закрыть
Сроки изготовления определяются индивидуально для каждого заказа. В среднем это от 5 до 14 рабочих дней.
Можете ли вы организовать доставку продукции до клиента?
Открыть/Закрыть
Мы сотрудничаем с множеством логистических компаний. Наши менеджеры рассчитают стоимость продукции с доставкой в любой регион России. В коммерческое предложение входит расчет веса, объема и необходимого количества транспорта. Вы также можете самостоятельно организовать доставку.
Можно ли приехать на ваш завод на ознакомительную экскурсию?
Открыть/Закрыть
Да, мы приглашаем потенциальных клиентов на экскурсию. Вы сможете ознакомиться с нашим производством и увидеть процесс изготовления интересующей вас продукции. Наш завод находится по адресу: Казань, ул. Михаила Миля, 53а.
Есть ли гарантия на вашу продукцию, и сколько она составляет?
Открыть/Закрыть
Мы предоставляем гарантию на производимую продукцию сроком до 30 лет.
Какие документы качества вы выдаете на производимую продукцию?
Открыть/Закрыть
На каждую партию отгружаемой продукции мы выдаем сертификат качества и паспорт.
WhatsApp Телеграм Телефон
Архангельская Область
Архангельск
Астраханская Область
Астрахань
Башкортостан Республика
Уфа
Владимирская Область
Владимир
Волгоградская Область
Волгоград
Воронежская Область
Воронеж
Кировская область
Киров
Кировская Область
Киров
Коми Республика
Сыктывкар
Костромская Область
Кострома
Красноярский Край
Красноярск
Ленинградская Область
Санкт-Петербург
Мордовия Республика
Саранск
Нижегородская Область
Нижний Новгород
Новосибирская Область
Новосибирск
Омская Область
Омск
Пензенская Область
Пенза
Пермский Край
Пермь
Ростовская Область
Ростов-на-Дону
Рязанская Область
Рязань
Самарская Область
СамараТольятти
Саратовская Область
БалаковоСаратов
Свердловская Область
Екатеринбург
Тамбовская Область
Тамбов
Тверская Область
Тверь
Тюменская Область
Тюмень
Удмуртская Республика
Ижевск
Ульяновская Область
Ульяновск
Ханты-Мансийский Автономный округ - Югра Автономный округ
Сургут
Челябинская Область
Челябинск
Чувашская Республика - Чувашия
Чебоксары
Ярославская Область
Рыбинск
Наверх