Выбрать город Сургут Выбрать город
Почта
Напишите нам!
Телефон
Бесплатно по России
Телеграм
WhatsApp

Трубы ППУ ОЦ в Сургуте

Трубы ППУ ОЦ в Сургуте — производство на заказ от завода Альфа-тех Инвест. Предлагаем изделия собственного производства с качественной теплоизоляцией из пенополиуретана. Производим широкий ассортимент труб ППУ ОЦ по ГОСТ диаметром от 25 до 500 мм. Оболочка защищает изоляционный слой от внешних воздействий. Оптимально для теплотрасс и других коммуникаций. Трубы ППУ в оцинкованной оболочке служат от 30 лет.

Доставляем продукцию по всем регионам России и стран СНГ. Чтобы купить трубы ППУ ОЦ или получить консультацию, звоните: 8 (800) 700-43-11.

Трубы ППУ ОЦ в Сургуте представлены в ассортименте Альфа-тех Инвест. Осуществляем собственное производство с использованием высокотехнологичного оснащения. Наш инженерно-технический состав имеет высокую квалификацию, поэтому мы смело беремся за реализацию сложных проектов. На сайте вы можете ознакомиться с сертификатами на трубы ППУ ОЦ и реализованными заказами.

Трубы ППУ ОЦ
Трубы ППУ ОЦ

Описание:

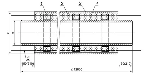
Конструкция стальной трубы ППУ-ОЦ теплоизолированной

Условные обозначения:

  1. центрирующая опора (центратор);
  2. теплоизоляция из пенополиуретана (ППУ);
  3. труба-оболочка из стали с цинковым покрытием (ОЦ);
  4. стальная труба трубопровода;
  5. медный провод-индикатор системы оперативного дистанционного контроля (СОДК).
Получить каталог
трубы ППУ, фасонные изделия, комплектующие, многогранные опоры и металлоконструкции

Выбор трубы ППУ в оцинкованной изоляции

Современные трубы в ППУ изоляции в оцинкованной оболочке предусматривают повышенную защиту от различных типов повреждений. Отличаются износостойкостью и долговечностью. Получили широкое распространение для прокладки промышленных магистралей, теплопроводных трасс. В зависимости от типа назначения подбираются определенные характеристики, вес трубы ППУ ОЦ. Мы готовы к выполнению как стандартных, так и индивидуальных заказов по вашим требованиям. Это возможно благодаря собственному производству и применению новейших технологий.

Наш завод имеет большой опыт производства труб ППУ оцинкованных по ГОСТ. Многие предприятия России и стран СНГ являются нашими постоянными клиентами. В работе придерживаемся нескольких важных правил:

  • персонализированный подход;
  • оперативность и надежность;
  • установлены оптимальные цены на трубы ППУ ОЦ;
  • создан широкий ассортимент продукции;
  • своевременная доставка.

Благодаря этому вы сможете реализовать свои задумки с использованием качественной и сертифицированной продукции напрямую от производителя.

Наружный диаметр и
толщина стенки
стальных труб
Тип 1 Тип 2
Наружны й диаметр и толщина стальной ОЦ оболочки

Толщина теплоизоляционного слоя из ППУ 

Наружный диаметр и
толщина стальной ОЦ оболочки
Толщина теплоизоляционного
слоя из ППУ
Наружный
диаметр
Толщина Наружный
диаметр
Толщина
32x3,0  — 125 0.55 45,95
38x3,0 125 0.55 42,95
45x3,0 125 0.55 39,45
57x3,0 140 0.55 40,95
76x30 160 0.55 41,45
89x40 180 0,6 44,9
108x4,0 200 0,6 45,4
114x4,0 200 0,6 42,4 225 0,6 54,9
133x4,0 225 0,6 45,4 250 0,7 57,8
159x4,5 250 0,7 44,8 280 0,7 59,8
219x6,0 315 0,7 47,3 355 0,8 67,2
273x7.0 400 0,8 63,7 450 0,8 87,7
325x7.0 450 0,8 61,7 500 0,8 86,7
377x7,0 500 0,8 60,7 560 0,1 90,5
426x7,0 560 1,0 66,0 600 0,1 86,0
530x7,0 675; 710 1,0 75,5; 89,0 775 0,1 121,5
630x8,0 775; 800 1,0 71,5; 84,0 875 0,1 121,5
720x8,0 875; 900 1,0 76,5; 89,0 975 0,1 126,5
820x9,0 975;1000 1,0 76,5; 89,0 1075 0,1 126,5
920x10,0 1075; 1100 1,0 76,5; 89,0 1175 0,1 126,5
1020x11,0 1175; 1200 1,0 76,5; 89,0
1220x11,0 1375; 1425 1,0 76,5; 101,5
1420x12,0 1575; 1600 1,0 76,5; 89,0

Ассортимент также включает следующие позиции:

  • трубы ППУ ПЭ — полиэтиленовая оболочка уменьшает потери тепла;
  • трубы ППУ с ОДК — система позволяет быстро решить проблемы протечек;
  • трубы в ВУС изоляции — отличаются повышенной устойчивостью к повреждениям и долговечностью.

Реализованные проекты

Труба в ППУ-изоляции
Труба в ППУ-изоляции

Произведена прокладка и успешно запущены в работу трубопроводы в ППУ-изоляции на АЗС Магистраль М-7 Волга 846 км.

Трубы ППУ в изоляции
Трубы ППУ в изоляции

Произведена прокладка и успешно запущены в работу трубопроводы в ППУ-изоляции в Казань, ул.Горького, д.10

Трубопровод в ППУ-изоляции
Трубопровод в ППУ-изоляции

Произведена прокладка и успешно запущены в работу трубопроводы в ППУ-изоляции в Казань, ул.Галактионова, д.3А

Трубы в ППУ-изоляции
Трубы в ППУ-изоляции

 Произведена прокладка и успешно запущены в работу трубопроводы в ППУ-изоляции в Казань, ул.Зеленая, д.1

Труба ППУ
Труба ППУ

Произведена прокладка и успешно запущены в работу трубопроводы в ППУ-изоляции в Казань, ул.Лесгафта, д. 24-2

Трубопровод ППУ
Трубопровод ППУ

Произведена прокладка и успешно запущены в работу трубопроводы в ППУ-изоляции в Казань, ул.Вишневского, д.51-3

Прокладка трубопровода
Прокладка трубопровода

Произведена прокладка и успешно запущены в работу трубопроводы в ППУ-изоляции в Казань, ул.Тополевая, д.8

Прокладка трубопровода ППУ
Прокладка трубопровода ППУ

Произведена прокладка и успешно запущены в работу трубопроводы в ППУ-изоляции  в г. Казань, ул.Миля д.63А

Прокладка трубопровода ППУ- изоляции
Прокладка трубопровода ППУ- изоляции

Произведена прокладка и успешно запущены в работу трубопроводы в ППУ-изоляции в г.Уфа, пр.Дружбы народов, стройка около д.53

Прокладка трубопровода
Прокладка трубопровода

 Произведена прокладка и успешно запущены в работу трубопроводы в ППУ-изоляции в г.Набережные Челны пр.Набережночелнинский, д.19

Трубопровод ППУ-изоляции
Трубопровод ППУ-изоляции

Произведена прокладка и успешно запущены в работу трубопроводы в ППУ-изоляции в г.Набережные Челны, ЖК Красные Челны пос. 3ЯБ Комсомольский р-н

Также мы осуществляем производство других типов изделий:

На сайте вы можете ознакомиться с полным каталогом стальных труб в ППУ теплоизоляции.

Цена труб ППУ ОЦ в Сургуте

Итоговая цена оцинкованных труб ППУ в изоляции зависит от аспектов конкретного заказа. Мы придерживаемся индивидуального подхода, поэтому на консультации обсуждаем все до мельчайших деталей. При необходимости вы сможете запросить актуальный прайс на трубы ППУ в ОЦ изоляции. Для оперативного решения ваших вопросов доступна форма обратной связи.

Наш завод предлагает купить оцинкованные трубы в пенополиуретановой изоляции на выгодных условиях. Вы всегда можете рассчитывать на предоставление необходимой информации.

Купить оцинкованные трубы ППУ в изоляции в Сургуте

Наш завод предлагает купить оцинкованные трубы ППУ в изоляции на оптимальных условиях. На сайте вы можете ознакомиться с широким ассортиментом, подобрать все необходимое для реализации вашего проекта. Если вам требуется дополнительная информация: 

Напишите нам!
Бесплатно по России
Вопросы и ответы
На каких условиях оплаты вы работаете?
Открыть/Закрыть
Стандартные условия — предоплата 100%. Для постоянных клиентов и крупных серийных заказов условия обсуждаются индивидуально.
Какие сроки изготовления вашей продукции?
Открыть/Закрыть
Сроки изготовления определяются индивидуально для каждого заказа. В среднем это от 5 до 14 рабочих дней.
Можете ли вы организовать доставку продукции до клиента?
Открыть/Закрыть
Мы сотрудничаем с множеством логистических компаний. Наши менеджеры рассчитают стоимость продукции с доставкой в любой регион России. В коммерческое предложение входит расчет веса, объема и необходимого количества транспорта. Вы также можете самостоятельно организовать доставку.
Можно ли приехать на ваш завод на ознакомительную экскурсию?
Открыть/Закрыть
Да, мы приглашаем потенциальных клиентов на экскурсию. Вы сможете ознакомиться с нашим производством и увидеть процесс изготовления интересующей вас продукции. Наш завод находится по адресу: Казань, ул. Михаила Миля, 53а.
Есть ли гарантия на вашу продукцию, и сколько она составляет?
Открыть/Закрыть
Мы предоставляем гарантию на производимую продукцию сроком до 30 лет.
Какие документы качества вы выдаете на производимую продукцию?
Открыть/Закрыть
На каждую партию отгружаемой продукции мы выдаем сертификат качества и паспорт.
WhatsApp Телеграм Телефон
Архангельская Область
Архангельск
Астраханская Область
Астрахань
Башкортостан Республика
Уфа
Владимирская Область
Владимир
Волгоградская Область
Волгоград
Воронежская Область
Воронеж
Кировская область
Киров
Кировская Область
Киров
Коми Республика
Сыктывкар
Костромская Область
Кострома
Красноярский Край
Красноярск
Ленинградская Область
Санкт-Петербург
Мордовия Республика
Саранск
Нижегородская Область
Нижний Новгород
Новосибирская Область
Новосибирск
Омская Область
Омск
Пензенская Область
Пенза
Пермский Край
Пермь
Ростовская Область
Ростов-на-Дону
Рязанская Область
Рязань
Самарская Область
СамараТольятти
Саратовская Область
БалаковоСаратов
Свердловская Область
Екатеринбург
Тамбовская Область
Тамбов
Тверская Область
Тверь
Тюменская Область
Тюмень
Удмуртская Республика
Ижевск
Ульяновская Область
Ульяновск
Ханты-Мансийский Автономный округ - Югра Автономный округ
Сургут
Челябинская Область
Челябинск
Чувашская Республика - Чувашия
Чебоксары
Ярославская Область
Рыбинск
Наверх